Этапы получения и переработки отходов
Процесс производства проходит в 4 этапа.
- Сначала микроорганизмы перерабатывают высокомолекулярные соединения, превращая их в низкомолекулярные. Полимеры становятся мономерами. Данный процесс протекает довольно медленно, на его скорость во многом влияет кислотно-щелочной баланс среды.
- На следующем этапе образуются кислоты. Некоторые молекулы попадают в клетки микроорганизмов, и там продолжается их разложение. Сначала происходит выработка карбоновых кислот, а также некоторых газов: сероводорода, аммиака, углекислого газа.
- На третьем этапе образуются вещества, необходимые для появления метана. Это углерод, его двуокись, а также уксусная кислота.
- И завершается переработка навоза в биогаз образованием самого метана. При этом появляются и побочные продукты – углекислый газ и вода.
Технология изготовления подземного реактора
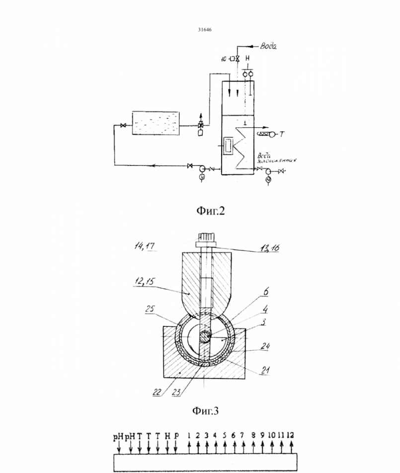
Для производства биогаза можно установить самую простую установку, углубив ее в грунт. Технология изготовления такого резервуара выглядит следующим образом:
- Выкапывают котлован нужного размера. Его стенки заливают керамзитобетоном, который дополнительно армируют.
- С противоположных стенок бункера оставляют отверстия. В них устанавливают трубы с некоторым наклоном, чтобы производить закачку сырья и извлечение отработанного материала.
- Выходной трубопровод диаметром 70 мм устанавливается практически около самого дна. Другой его конец устанавливается в резервуар, в который будет происходить выкачка отработанного шлама. Рекомендуется делать его прямоугольным.
- Трубопровод для подачи сырья размещают на высоте 0,5 м относительно дна. Его рекомендуемый диаметр – 30-35 мм. Верх трубы заводят в отдельный резервуар для приема подготовленного сырья.
- Верхняя часть биореактора должна иметь купольную или конусную форму. Ее можно изготовить из обычного кровельного железа или других металлических листов. Разрешается сделать крышку резервуара при помощи кирпичной кадки. Для усиления ее конструкции поверхность дополнительно оштукатуривают с установкой арматурной сетки.
- Сверху крышки резервуара делаю люк, который должен герметически закрываться. Через нее также выводят газоотводный трубопровод. Дополнительно устанавливают клапан для сброса давления.
- Для перемешивания субстрата в резервуаре устанавливают несколько пластиковых труб. Они должны быть погружены в биомассу. В трубах делают множество отверстий, что позволяет перемешивать сырье при помощи движущихся пузырьков газа.

Особенности самостоятельного строительства биореактора
Для того чтобы понять, как самостоятельно изготовить биогазовую установку, необходимо разобраться, из каких частей она состоит. Можно взять за основу самую простую схему оборудования, которое возможно соорудить своими силами. В конструкции не предусмотрен подогрев и перемешивающее устройство, однако есть одна из основных частей – реактор, который еще известен как метантенк. Эта составляющая требуется для осуществления переработки навоза. Помимо этого, есть бункер, посредством которого производится загрузка сырья. Необходимо снабдить конструкцию входным люком, а также гидрозатвором. А вот для того, чтобы была возможность выгружать отработанное сырье, нужна будет труба. Подобный элемент потребуется для того, чтобы реализовать возможность отвода биогаза.

Вот так выглядит схема биогазовой установки. Своими руками изготовить такую конструкцию несложно. Для того чтобы получать бесплатное биологическое топливо, на участке следует выбрать место, где можно произвести строительство армированной емкости, в основе которой будет бетон. Этот сосуд станет выполнять роль биореактора. В его основании необходимо предусмотреть наличие отверстия, сквозь которое станет удаляться сырье, прошедшее отработку. Это отверстие необходимо сделать таким, чтобы была возможность хорошо его закрыть. Это обусловлено тем, что функционирование системы возможно только в герметичных условиях.

Габариты бетонного отсека можно определить, учитывая количество используемых единовременно органических отходов. Нужно выяснить, какое количество сырья каждый день будет появляться в фермерском хозяйстве или частном подворье. Но не стоит экономить, так как обеспечить полноценную работу биореактора можно будет только в том случае, если заполнить резервуар на 2/3 от имеющегося объема. Если вами будет изготавливаться биогазовая установка своими руками из бочки, то работать она будет по следующему принципу: как только в хорошо закрытую емкость биореактора, которая находится на глубине в почве, попадают органические отходы, они начинают бродить, что и приводит к выделению биогаза.
Работа устройства для получения биогаза
Основной принцип работы установки по производству биогаза – брожение. В результате полученный биогаз, используется, как и природный. К примеру, с его помощью можно обогреть помещение или выработать электроэнергию.
Таким газом можно заправить автомобиль, естественно, сначала его потребуется сжать.
Сам процесс выработки биогаза в биогазовой установке происходит в несколько этапов. На первом этапе загружается сырье. Для обеспечения максимальной эффективности, придерживаются определенной влажности сырья. Наилучший вариант – использование функции добавления воды.
После загрузки сырья в емкость, из расчета 1 к 8 к сырьевой базе добавляют воду и включают насос, с помощью которого все тщательно перемешивается и становится однородным.
Процесс выработки биогаза из навоза
Далее сырьевая масса, попадает в биореактор, при этом, продолжая перемешиваться. Перемешивание автоматически отключится после полной выгрузки сырья из емкости.
Однородная, смешанная с водой биомасса, попадает в биореактор через открывающийся технологический люк. Такой же герметичный люк имеется и в верхней части биореактора. На нем расположены приборы, отслеживающие уровень биомассы, измеряющие давление биогаза и осуществляющие его отбор.
Чтобы не случился разрыв емкости, специальный компресс автоматически может включаться или выключаться при повышении давления. Также компрессор способствует откачке газа из биореактора в газгольдер.
Биореактор также оснащен нагревательным элементом, который поддерживает нужную для брожения температуру.
Затем биомасса попадает во вторую часть биореактора, где проходит химическая реакция. Все процессы происходят с постоянным перемешиванием биомассы, что исключает возможность образования плавающей корки, которая препятствует выходу биогаза. После того как биомасса окончательно перебродила, она попадает в выгрузочный сектор, где отделяется жидкое удобрение и остатки газа.
Сырье для домашней биогазовой установки
Частный дом с подсобным хозяйством ежедневно производит большое количество биологических отходов. Такой объем органики образуется благодаря следующим источникам:
- Навоз от крупного рогатого скота и мелких животных: коровы, свиньи, козы, кролики.
- Урина (моча) животных.
- Птичий помет кур, гусей, уток.
- Растительный мусор с приусадебного участка: трава, ботва, порченые овощи и фрукты.
- Органические остатки от домашнего производства: отходы виноделия, мусор от закаток овощей и фруктов.
- Отходы кухни: очистки, остатки, испорченные продукты.
Биологические отходы от жизнедеятельности человека. Септик совмещают с биогазовой установкой с помощью приемника каловых масс.
Все вышеперечисленные источники органики домохозяйства разделяют на круглогодичные и сезонные. К примеру, растительный мусор на приусадебном участке в зимний период не образуется. Исключение составляют лишь южные районы России, где рост растений не прекращается с приходом календарной зимы. Постоянными же источниками органики являются отходы жизнедеятельности животных и человека.
Технология производства биогаза в домашних условиях
Производство биогаза в домашних условиях происходит по следующей схеме:
- Осуществляется измельчение биологической массы. Необходимо получить частицы, размер которых не превышает 10 мм.
- Полученная масса тщательно перемешивается с водой. На 1 кг сырья нужно приблизительно 700 мл жидкой составляющей. Используемая вода должна быть питьевой и не содержать примесей.
- Полученным субстратом заполняется весь резервуар, после чего герметически закрывается.
- Желательно несколько раз в сутки тщательно перемешивать субстрат, что повысит эффективность его переработки.
- На 5 день производственного процесса проверяют наличие биогаза и постепенно откачивают его в подготовленные баллоны при помощи компрессора. Периодическое удаление газообразных продуктов является обязательным. Их накопление приводит к увеличению давления внутри резервуара, что негативно сказывается на процессе расщепления биологической массы.
- На 15 день производства часть субстрата удаляют, и загружают свежую порцию биологического материала.
Получение биогаза в домашних условиях
Система для сбора и отвода биогаза
Трубу для отведения газа монтируют на верхней поверхности резервуара. Другой ее конец отпускают в герметичную емкость, наполненную водой. Ее называют гидрозатвором. Вторая труба, расположенная над поверхностью жидкости, принимает очищенный газ. На выходе устанавливают отсечный кран, обычно рекомендуют шаровое устройство.

Для избавления биогаза от примесей используют разные способы. Углекислый газ можно устранить, если засыпать в гидрозатвор гашеную известь, однако ее придется периодически менять. Сероводород удаляют с помощью емкостей-фильтров, заполненных металлической стружкой, ее замена — старые металлические мочалки. Газ, проходя через металл, лишается сероводорода, скапливается в верхней части емкости, затем следует дальше через другую трубу.
Сушат газ с помощью установки в газопроводе дополнительных гидрозатворов для устранения конденсата. Минус способа — необходимость время от времени сливать воду, иначе газопровод может быть заблокирован. Другой вариант — емкость с силикагелем. В этом случае тоже потребуется его периодическое осушение: например, прогревание при помощи СВЧ-печи.
Для передачи газа используют или газовые трубы из ППР или ПНД, или металлические гальванизированные. При любой работе с газовым оборудованием проверка стыков мыльной пеной обязательна. Трубопровод собирают из труб и фитингов одного диаметра.
Расчет количества газа
В среднем, тонна навоза обеспечит владельца сотней кубометров биогаза. Для того чтобы рассчитать количество получаемого биогаза, необходимо умножить ежедневную массу навоза с каждого скота на количество животных.
Естественно, разные животные и птицы дают разное количество навоза:
- птицы (в первую очередь, куры) – 150-170 г в день
- корова — 34-36 кг
- коза – 900 – 1100 г
- лошадь – 14-16 кг
- овца – 900 – 1100 г
- свинья – 4-6 кг
Навоз свиней и коров дает большее количество топлива. Количество выделяемого биогаза можно увеличить, если добавить в смесь просо, ботву свеклы, болотные растения, водоросли или кукурузу (наличие хлорофилла в биомассе улучшает выделение метана).

Дополнительное оборудование
К дополнительному оборудованию, без которого невозможна работа биореактора, относят:
- измельчающее устройство;
- источник тепловой энергии;
- систему сброса технической воды;
- хранилище сапропеля;
- очистную установку;
- основной газгольдер;
- установку сжижения газа;
- газгольдер для сжиженного газа;
- управляющую систему.
Измельчающее устройство

Измельчающее устройство принимает поступающую с мест содержания животных/птиц навозную/пометную жижу, а также смытую или убранную вручную подстилку и измельчает все крупные фрагменты, чтобы облегчить работу бактерий. Кроме того, измельчающее устройство смешивает измельченную массу с водой, чтобы обеспечить необходимый уровень влажности, причем во время смешивания происходит доизмельчение материала.
Такой измельченный и разведенный водой материал называют субстратом.
После подготовки субстрат по трубам поступает в метантенк и смешивается с находящимся в нем веществом.
Источник тепловой энергии
Чаще всего роль такого источника исполняет адаптированный для работы на метане газовый котел, который в зимнее время также снабжает теплом систему отопления.
При этом необходимо постоянно отслеживать температуру внутри биореактора, чтобы она все время находилась в оптимальных пределах и, при необходимости, увеличивать или снижать подачу газа, для чего внутри емкости устанавливают датчики температуры.
Система сброса технической воды
Сливаемая с биореактора техническая вода содержит немного органических и неорганических веществ, но в ней нет ни возбудителей болезней, ни яиц или личинок глистов, а также семян сорняков. Поэтому ее можно использовать для полива, а также для разведения составов, используемых для подкормки.
Для реализации всех этих возможностей система, помимо периодически открываемого сливного клапана, должна содержать емкость для технической воды и средства доставки к месту использования.
Хранилище сапропеля

Скапливающийся на дне метантенка сапропель через специальный клапан поступает в хранилище, где постепенно накапливается. Он является хорошим удобрением, сопоставимым с перегноем, однако менее качественно разрыхляющим почву.
Тем не менее, сапропель эффективно заменяет многие комплексные удобрения, ведь содержит широкий спектр органических и неорганических веществ.
После заполнения хранилище открывают и извлекают из него собранный материал, который затем вносят в почву.
Очистное устройство
Биогаз состоит из метана (50–60%) и других газов, поэтому в неочищенном состоянии обладает малой теплотворной способностью.
Такой очищенный биогаз по своей теплотворной способности сопоставим с природным и сжиженным газом, поэтому его можно использовать в качестве топлива для любых устройств, изначально работающих на указанных видах топлива.
Основной газгольдер
Это оборудование необходимо для сглаживания перепадов давления газа во время подключения или отключения потребителей. Газгольдер изготавливают из стали, благодаря чему он выдерживает давление в десятки или сотни атмосфер.
Вместе с газгольдером работает и насос, закачивающий в него газ под необходимым давлением.
Аппарат сжижения газа и газгольдер для его хранения
Эта установка позволяет запасать газ в те периоды, когда потребление меньше производства. Дело в том, что сжиженный газ занимает гораздо меньше места, поэтому при одинаковом объеме хранилища его можно запасти заметно больше.

Аппарат сжижает газ с помощью охлаждения, благодаря чему он переходит из газообразного в жидкое состояние. Газгольдер для сжиженного газа изготавливают из высокопрочной стали, а также тщательно утепляют, ведь давление внутри газгольдера зависит не только от количества сжиженного метана, но и от его температуры.
Такой газгольдер позволяет в летние месяцы делать запас сжиженного метана, который зимой можно будет использовать для отопления или других нужд, компенсируя им недостаточную выработку биогаза. Кроме того, сжиженный газ из газгольдера хорошо подходит для заправки автомобилей и иной техники, работающей на таком виде топлива.
Управляющая система
Для обеспечения максимальной выработки биогаза, а также для увеличения доли метана в нем необходимо не только поддерживать оптимальную температуру, но и своевременно выполнять все необходимые действия, то есть:
- подавать субстрат;
- отводить воду;
- удалять сапропель;
- регулировать работу очистной и сжижающей установок.
Кроме того, к ней подключены датчики, отслеживающие состояние и работоспособность всех входящих в нее устройств.
Создание установки для биогаза из навоза в домашних условиях
Для конструирования установки по переработке навоза в биогаз вам понадобится:
- герметично закрывающая емкость (из металла, бетона, пластика) объемом не меньше одного кубометра;
- крышка для реактора с герметичным узлом прохода для ручки мешалки;
- материал для теплоизоляции днища (играет роль системы подогрева);
- ручная мешалка из подручных материалов (можно использовать лопату или винтовой шнек);
- патрубки для подачи/вытяжки субстрата и для вывода биогаза.
В процессе строительства вам могут понадобиться дополнительные материалы: трубы, фильтры, клапаны. Все это можно найти в строительном магазине. Конструкция довольна проста, и вы сможете усовершенствовать ее по мере возведения.
Советы по самодельному изготовлению
Самое важное правило – отсутствие кислорода в реакторе. При его наличии может произойти взрыв

Для того чтобы крышку реактора не сорвало высоким давлением, необходимы противовесы, защитные прокладки между резервуарами и крышками.
На участке перед установкой оборудование необходимо:
- правильно выбрать место (желательно, как можно дальше от жилого дома)
- рассчитать ежедневные объемы образуемого навоза
- выбрать местоположение для труб (отгрузочных, погрузочных, конденсирующих влагу)
- найти место для отходов навоза
- выкопать котлован
- приобрести емкость для резервуара и закрепить ее на дне котлована
- загерметизировать все места стыков
- сконструировать люк для осмотра реактора (между люком и реактором обязательно поставить прокладку)
Если установка происходит в холодном климате, то обязательно стоит продумать способы её нагрева.
Завершающим этапом постройки считается проверка оборудования на герметичность.
Делаем установку из пластиковой бочки
В качестве эксперимента можно попробовать сделать установку из обычной пластиковой бочки. Они выпускаются объемом от 100 до 200 литров. Бочка будет служить реактором. Сделайте в ней два отверстия для входа и выхода патрубков. Входное отверстие делается ближе к днищу, а выходное — сверху. Диаметр отверстий зависит от диаметра используемых патрубков. Пластиковые трубы можно купить в строительном магазине. Вставляем их в отверстия и надежно изолируем. Для входа подойдет труба с изгибом (с соединителем), а для выхода — короткая прямая трубка.

Не забудьте про теплоизоляцию бочки. Ее можно обмотать минеральной ватой, пенополиэтиленом или любым другим материалом. Лучше всего поставить бочку на солнце, чтобы увеличить температуру внутри реактора. Засыпаем внутрь сырье в соотношении 0,7 л воды на 1 кг навоза. Ставим любую подходящую емкость для отвода шлама, устанавливаем сверху ведро и ждем брожения. Ждем около трех недель первой партии своего домашнего биогаза. Помните, что перед использованием метан нужно очистить от двуокиси углерода. С этой задачей справится специальный фильтр, который продается в магазине как «фильтр для очистки сжатого воздуха, углекислого газа и пара».
Биогаз из навоза своими руками: строим подземную установку
Еще один простой способ возвести собственную установку по переработке навоза в биогаз — построить подземную систему. Для начала необходимо вырыть яму объемом не меньше одного кубометра. Ее стенки и днище заливаются керамзитобетоном. С противоположных стен выводится по одной трубе для подачи биомассы и выведения шлама. Выходная труба должна располагаться ближе к днищу, а входная — на 50 см выше дна. Конец выходной трубы подводится к емкости для отходов. Конец входной трубы должен быть расположен таким образом, чтобы вам было удобно закачивать через него новое сырье.
Верхняя часть этого «бункера» представляет собой газгольдер купольной или конусообразной формы. Его проще всего изготовить из металлических листов или кирпичной кладки. На вершине газгольдера монтируется герметичный люк и газовая труба с гидрозатвором.

Перемешивание субстрата в такой установке происходит по принципу барботажа. Для этого возьмите несколько пластиковых труб и проделайте в них как можно больше дырочек. После этого закрепите трубы внутри реактора в вертикальном положении. Когда газ будет подниматься вверх, он будет испускать пузырьки, которые на выходе начнут бурлить в субстрате, тем самым его перемешивая.
Отходы биомассы после получения газа
Образуемый после нагревания навоза шлам применяют повсеместно в сельском хозяйстве в виде удобрений.
Образуемый углекислый газ обычно стремятся очистить, но при растворении его в воде получается полезная жидкость.
Биогазовая установка
Перед тем, как начать делать биогазовую установку, следует провести расчеты. Когда скота не много, то лучше отдать предпочтение самой простой установке. Ее не так уж сложно сделать собственными руками.
Для крупного сельскохозяйственного объекта подойдет промышленная автоматизированная биогазовая установка. Чтобы ее сделать, нужно привлечь специалистов для разработки проекта и монтажа установки.
На сегодняшний день существует много компаний, предлагающих готовый вариант биогазовой установки, или разработку индивидуального проекта. Некоторые в целях экономии объединяются, покупая одну установку на несколько хозяйств.
Перед постройкой даже небольшой биогазовой установки потребуется собрать документацию:
- технологическая схема;
- пройти пожарную и газовую инспекцию;
- разрешение от санэпидемстанции;
- план размещения оборудования и вентиляции.
При желании и возможностях, можно соорудить оборудование для производства биогаза самостоятельно. В качестве основы подойдет устройство, выпущенное промышленностью.
Средние цены
В настоящее время, биогазовые установки изготавливаются рядом отечественных и зарубежных компаний.
Наиболее популярны среди различных групп пользователей, следующие модели, это:
- Мини биогазовая установка БУГ-М, производства Россия. В комплект установки входит оборудование емкостью 1,0 м3 (100 л) перерабатываемого сырья и выходом готового продукта в виде биогаза в объеме 1,0 м3/сутки и удобрения – 100 л/сутки.
Стоимость комплекта – от 170000,00 рублей. - Биогазовая установка «BioMash-20», производство Россия.

Объем перерабатываемого сырья составляет 700,0 кг/сутки, при этом выход готового продукта составляет:
- Электрической энергии – до 20,0 кВт/час;
- Тепловой энергии – до 2,4 Гкал/сутки.
Данная модель может быть использована на животноводческих фермах по содержанию до 12 голов крупного рогатого скота, 250 свиней или до 1200 птиц, различных видов. Стоимость комплекта оборудования – от 2000000,00 рублей.
Биогазовые комплексы различной производительности, компании Rucons Gobal UG (Германия).
Все оборудование изготавливается из нержавеющей стали и монтируется в отдельных технологических модулях (ферментация, смешивание, брожение, автоматика и управление и т.д.).
Стоимость комплекта, в зависимости от производительности — от 2500000,00 рублей.
Как определить оптимальные размеры?
Время полного цикла переработки экскрементов в биогаз и сапропель зависит от температурного режима. Существуют 3 типа температурных режимов, которые мы поместили в таблицу.
| Режимы | Температура градусов Цельсия, при которой бактерии этого типа наиболее активны | Время полного перегнивания субстрата (суток) и краткое описание результатов процесса перегнивания |
| Психрофильный | 10–25 | 20–60, минимальная выработка метана, максимальное образование сапропеля |
| Мезофильный | 25–40 | 10–20, хорошая производительность выработки метана, сапропеля немного |
| Термофильный | 40–60 | 5–10, максимальная выработка метана, минимум веществ уходит в сапропель |
Объем метантенка должен вмещать весь субстрат, произведенный за время полного перегнивания. Кроме того, объем биореактора необходимо увеличить на 15–30%, которые будут использованы для образования первичного газгольдера.

термофильный процессне пользуется спросом из-за необходимости поддерживать очень высокую температуру
Из-за этого сильно возрастают расходы газа на поддержку температуры и снижается общий объем готового продукта.
Тем не менее, при больших ежедневных объемах экскрементов и ограниченности пространства для установки метантенка термофильный режим будет наиболее предпочтительным.
Поэтому наиболее популярным является мезофильный режим, ведь он сочетает относительно малое время перегнивания (при температуре 35 градусов оно в среднем составляет 15 суток) и не слишком высокую температуру. Психрофильный процесс не получил распространения из-за слишком большого времени перегнивания.
Для наиболее популярного (мезофильного) режима полный объем метантенка должен превосходить ежедневный объем разведенного водой субстрата в 15–25 раз или превосходить объем суточного сбора навоза/помета в 20–35 раз.
Технология получения биогаза
Принцип работы биогазовой установки базируется на брожении биосубстрата. Он разлагается под воздействием гидролизных, метано- и кислотообразующих микроорганизмов. Вырабатывается горючий газ, содержащий высокий объем метана.

Газ фактически не уступает природному, использующемуся в быту и промышленности. Есть готовые установки. Но, их стоимость достаточно высока, срок окупаемости достигает 10 лет.

Для работы биогазовой установки можно применять доступное сырье – утилизируемые отходы. Они перерабатываются следующим образом:
- Сырье бродит под воздействием микроорганизмов.
- Выделяются горючие газы – метан, углекислота и прочие. Основной объем представлен метаном
- Газы проходят очистку и попадают газгольдер, в котором находятся до непосредственного применения.

Газ может применяться аналогично природному. Его можно использовать в качестве топлива для котлов, печей, газовых плит и т. д. Отработанное сырье нужно своевременно извлекать из установки. Отходы можно применять в качестве удобрения.







Использование биогаза

Высокое содержание метана (около 70%) делает биологический газ горючим. Отходы, которые остаются после переработки сырья, можно использовать для удобрения – они обладают отличными характеристиками и совершенно безопасны в биологическом смысле.
Возможности применения биогаза чрезвычайно широки. Посредством специальных когенерационных установок его можно превращать в электричество и источник тепловой энергии, при этом электро-ресурс подавать в общую сеть, а тепло использовать для обогрева:
- Зданий производственного назначения;
- Жилых домов;
- Помещений, где содержатся сельскохозяйственные животные.
Биологический газ в мировой энергетике

Статистика утверждает, что в мировой энергетике доля биологического газа, полученного из отходов сельскохозяйственного производства, составляет почти 12%, хотя изначально идея его производства и использования не имела целью получение значительной коммерческой выгоды. И по сей день большой объем биологического сырья, которое используется для получения энергии, не относится к категории коммерческих продуктов и официальной статистикой совсем не учитывается.
Если говорить о странах Евросоюза, то доля биоматериалов в энергетике в общем доходит до 3%, при этом:
- Австрия — это 12% от объема национальной энергетической индустрии;
- Швеция — до 18%;
- Финляндия – около 23%.
Как увеличить выход

Поскольку производителями метана являются метаногены, то чтобы увеличить выход газа, необходимо создать максимально комфортные условия для этих микроорганизмов.
Этого можно достичь лишь комплексно, влияя на все этапы от сбора и подготовки навоза до сброса отработанного материала и способов очистки газа.
Метаногены не могут эффективно переваривать твердые фрагменты, поэтому навоз/помет, а также другие органические вещества, такие как подстилка, скошенная трава и прочие необходимо максимально измельчать.
Чем меньше размер крупных фрагментов, а также чем меньше их процентное содержание, тем больше материала может быть переработано бактериями
Кроме того, очень важно достаточное количество воды, поэтому навоз или помет обязательно разводят водой до определенной консистенции
Должен быть соблюден баланс между метаногенами и бактериями, разлагающими органику на простые составляющие, в особенности расщепляющими жиры.
Если же будет избыток бактерий, разлагающих органику, то доля углекислого газа в биогазе резко возрастет, из-за чего после очистки готового продукта будет заметно меньше.
В неподвижном состоянии содержимое биореактора расслаивается по плотности, из-за чего лишь часть метанообразующих микроорганизмов получает достаточное количество питания, поэтому необходимо периодически перемешивать помет/навоз в биореакторе.

Образующийся в итоге ил обладает более высокой плотностью, чем водный раствор навоза, поэтому оседает на дно, откуда его необходимо удалять, чтобы освободить место для новой партии экскрементов.



































